


Descripción
Unbegrenzte Funktionalität. Die Manövrierfähigkeit des Rohres ist entscheidend, um einen möglichst großen Arbeitsraum abzudecken. Vollständig abnehmbarer Auslauf mit größerem Hubweg, da der Schlauch aus demselben Auslauf entnommen wird. Vollständig um 180° drehbarer Wasserhahn.
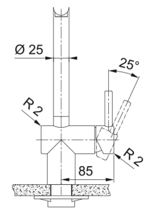
SPEZIFIKATIONEN
- Material: Edelstahl 304
- Sonderbeschichtung: PVD (schwarzes Modell)
- Auslauf: abnehmbar mit Brause (Sprühmodell)
- Sprühversion: Jet - Dusche (Sprühmodell)
- Erweiterbarer Schlauch: Graues Nylon
- Ausziehbare Schlauchlänge: 1.500 mm
- Belüfter: Laminar
- Kopfdrehung: 180°
- Steueröffnung: 0 / 90
- Durchflussrate: 8,6 l/min (3 bar)
- Lochdurchmesser: 35 mm
Ref.: 115.0681.242
